 |
 |
|
 |
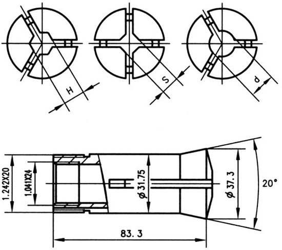
Цанга для четырехгранного профиля серии 5C, диаметр 3,5 мм, материал 65 Mn, твердость в крепежной части HRC55-60, в эластичной части HRC40-45, обозначение 5C02035M, производство Россия
Отличная цена! Оптом скидки! Звоните! Купить
Уточняйте наличие на складе в Минске
|
Цены на другие товары производителя Россия
|
| Общая информация |
| Описание | Предназначена для применения со всеми станками, шпиндель которых имеет стандарт 5C и прочей вспомогательной оснасткой. Цанга 5C получила широкое распространение в промышленности и предназначены для точной фиксации деталей. |
| Страна производства | Россия |
| Технические характеристики |
| Обозначение | 5C02035M |
| Диаметр (d) | 3,5 мм |
| Биение | 0,013 мм |
| Материал | 65 Mn |
| Твердость | в крепежной части HRC55-60 |
| в эластичной части HRC40-45 |
| Варианты комплектов | 10 цанг: 3, 4, 5, 6, 8, 10, 12, 14, 16, 18 мм |
| 17 цанг: 3, 4, 5, 6, 7, 8, 9, 10, 11, 12, 13, 14, 15, 16, 17, 18, 19 мм |
| Производитель | Россия |
КОРЗИНА
Товаров в корзине:
На сумму у.е. ( руб.)
Окно будет закрыто через сек.
Вы можете отправить ссылку на эту страницу в популярные социальные сети и месенджеры
|
 |
 |